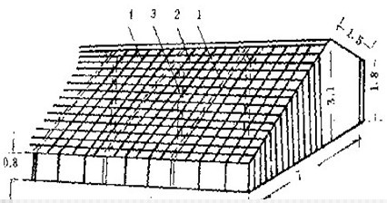
全钢拱架日光温室
1.结构:
钢筋骨架,上弦为四分钢管,下弦12~14号,拉花8~10号,由3道花架横向拉接,拱架间距85cm;拱架的上端搭在后墙上;拱架后屋面铺木板,木板上抹扬脚泥密封,后屋面下部 1/2处铺炉渣作保温层;保温层上部,每隔9m设一通风口。温室前底脚处设有暖气沟。
2.特点:
属永久式温室,坚固耐用,采光好,通风方便,有利于保温和室内作业。
3.适用地区及栽培季节:
适用于北纬45°地区春提早秋延后果菜生产、冬季绿叶菜生产与育苗。

圆拱式日光温室

装配式钢日光温室

琴弦式日光温室

温室性能
光照:
进光性不及塑料大棚,室内光照分布不均匀。
温度:
8~13℃;0.4~0.6℃/h;35~45d。
湿度:
15%左右;80%以上。